
1. 3상 회로
경제성 및 운전상의 장점으로 3상 시스템이 발전, 송전 및 큰 용량의 부하에서 사용되고 있다.

< Fig01. (a) 시간영역에서 3상 파형 (b) 정상 (a-b-c)페이저 (c) 역상 (a-c-b)페이저 >
1) 3상 시스템에서 Y-결선 및 △-결선
- 각 결선에서 선간전압과 상전압, 선전류와 상전류의 관계

< Fig02. (a) 평형 Y-결선 (b) 평형 △-결선 >
2) Y-결선에서 상전압과 선간전압의 페이저도


< Fig03. 평형 Y-결선에서 페이저도 >
3) Y-△ 및 △-Y 변환


2. 3상 변압기의 결선
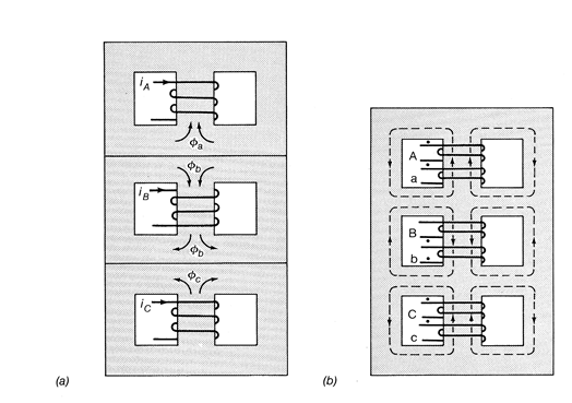
단상 core type 변압기의 3개 결합으로부터 실제 3상 core type 변압기의 구조에 이르기까지의 과정

아래의 식을 보면 그림(a)에서 인접한 요크부분의 단면적을 단상의 경우와 같도록 가능하다.


< Fig04. 3상 shell type 변압기의 철심구조 변환 >
1) Y-Y 결선
1차, 2차의 선간전압과 상전압, 선전류와 상전류의 관계는 그림과 같다. 여기서 권선비는

선간전압에 비하여 각 권선의 상전압이 작으므로 고압에서 활용된다.

Y-Y 결선은 2가지 문제점이 있다.
① 불평형 부하에서 변압기의 상전압은 불평형을 나타낸다.
② 3고조파 전압이 문제가 된다. - 각 상의 3 고조파는 동상이므로 3상의 합은 영이 아님.
※ 대책
① 중성점을 접지하여 3고조파 전류가 흐르도록 한다.
② △ 결선의 제 3권선을 추가하여 3고조파 전류가 순환하도록 한다.
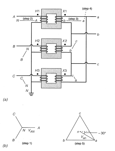
2)Y-△ 결선
1차 및 2차의 선간전압 비가 작으므로 강압용으로 활용된다.

Y-△ 결선의 1차, 2차 전압 페이저도는 다음과 같은 5단계를 거쳐 이루어진다.
① 그림 (b)와 같이 1차측 Y 권선의 페이저를 그린다.
② 각 권선의 페이저를 그림 (a)의 1차측으로 옮긴다.
③ 그림 (a)에서 각 상 변압기의 2차측에 1차측 페이저와 동상인 페이저를 그린다.
④ 1차측의 dot 표시와 기호에 맞추어 2차측의 페이저 양단에 기호를 붙인다.
⑤ 그림(a)의 2차측 페이저를 그림(b)의 우측 그림과 같이 완성한다. 그림 (b)에서 VAN은 Van보다 위상이 30°앞선다.

< 럏05. Y-△ 결선 변압기의 코일 배치 및 페이저도 >
3) △-Y 결선
1차 및 2차의 선간전압 비가 크므로 승압용으로 활용된다.
1차, 2차 전압이 30°위상 차를 가지므로 병렬운전 등에 유의

4) △-△ 결선
선간전압이 직접 각 권선에 걸리며, 중 전압용으로 활용된다.
3상 중 1상의 고장에서 V 결선으로 이용 가능하다.

https://electriceng.tistory.com/1097
변압기 기초원리 및 이론(Transformer Basics and Principles)
변압기 기초원리 및 이론(Transformer Basics and Principles) 1. 변압기 기초이론 변압기란 자기회로로 결합된 두 개 이상의 권선으로 구성된 정지기기이며, 전자유도 현상에 의해 같은 주파수로 전력을
electriceng.tistory.com
https://electriceng.tistory.com/1098
변압기 기능 및 구조(Transformer components)
변압기 기능 및 구조(Transformer components) 1. 변압기 기능 및 구조 저전류 고전압을 대전류 저전압으로 변환 또는 역변환 1) 변압기 외관 및 권선 배치 < Core type > < Shell type > 2) 변압기의 주요 구성 요
electriceng.tistory.com
https://electriceng.tistory.com/1099
변압기 리액턴스 계산방법 / 단권변압기(Autotransformer)의 설명
변압기 리액턴스 계산방법 / 단권변압기(Autotransformer)의 설명 1. 단권 변압기 1차, 2차 권선이 두 개인 일반적인 변압기는 두 권선이 자기적으로 결합하지만 전기적으로는 격리되어 있다. 단권변
electriceng.tistory.com
https://electriceng.tistory.com/1102
변압기의 코어 종류(Transformer Iron Core Type)
변압기의 코어 종류(Transformer Iron Core Type) 1. 변압기의 철심구조 변압기에 사용되어지고 있는 코어 제작에 많은 종류들이 있어왔습니다. 일반적으로 코어는 다음과 같은 범주로 나눠질 수 있다.
electriceng.tistory.com
| 변압기 점검의 종류(Transformer testing) (4) | 2024.02.05 |
|---|---|
| 변압기의 코어 종류(Transformer Iron Core Type) (2) | 2024.02.02 |
| 변압기 리액턴스 계산방법 / 단권변압기(Autotransformer)의 설명 (0) | 2024.01.30 |
| 변압기 기능 및 구조(Transformer components) (0) | 2024.01.29 |
| 변압기 기초원리 및 이론(Transformer Basics and Principles) (0) | 2024.01.26 |