
1. 지선, 지선밴드
1) 지선의 종류 및 형태

< Fig01. 지선밴드의 명칭 >
① 지선밴드/지선그립
② 아연도강연선
③ 지선용 구형애자/지선그립
④ 지선롯드/지선용 타입 앵커 /지선그립
⑤ 지선 커버
⑨ 지선캡

< Fig02. 보통지선 >

< Fig03. 수평지선 >

< Fig04. 공동지선 >

< Fig05. Y지선 >

< Fig06. 궁지선 >
2) 지선밴드의 용도
- 가공 배전선로의 전주에 지선을 연결하기 위하여 설치하는 밴드
3) 종류 및 규격

4) 지선의 실물사진

5) 현장설치사진

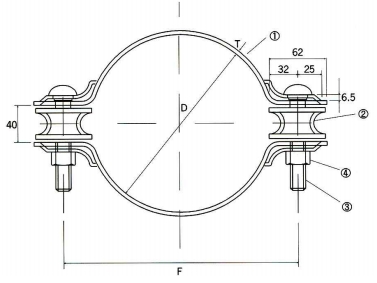
6) 지선밴드의 형상 및 치수

< Fig06. 2방 지선밴드 상세도 >

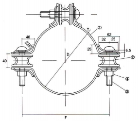
< Fig06. 3방 지선밴드 상세도 >

< Fig06. 4방 지선밴드 상세도 >
① 밴드
② 심볼
③ 밴드조임용볼트(M16x100)
④ 너트(M16x100)

< Fig06. 4방 지선밴드 측면도 >
2. 아연도 철선, 아연도 강연선
1) 아연도철선·강연선의 용도
|
구 분
|
사 용 개 소
|
비 고
|
|
아연도 철(연)선
|
조가선, 잡용선 등
|
|
|
아연도 강연선
|
지선, 가공지선, 가공케이블 조가선 등
|
|
2) 종류 및 규격
○ 아연도 철선

○ 아연도 강연선

3) 실물사진

4) 현장설치사진

3. 지선용 구형애자
1) 용도
- 배전선로 전주의 지선 중앙에 설치하여 전압선과 지선 접촉시 지상의 인체에 대한 감전예방을
목적으로 하는 절연용 애자임
2) 종류 및 규격
|
규격(두께x직경)
(mm) |
단위중량
(kg) |
|
100x100
|
1.0
|
3) 실물사진

4) 현장설치사진

5) 형상 및 치수

6) 참고자료
|
상용주파 내전압
|
인장파괴 하중
|
|
15kV · 1분
|
6,000kgf
|
- 지선절단시 지선애자의 지표상 높이 : 약 2.5m
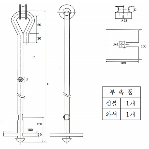
4. 지선롯드
1) 용도
- 전주의 지선과 지하에 매설되는 지선근가와의 연결용으로 사용
2) 종류 및 규격
|
종 류
|
규격(두께x직경)
(mm) |
단위중량
(kg) |
인장력
(kgf) |
|
소형
|
16x2,300
|
4.7
|
4,400
|
|
대형
|
18x2,500
|
6.0
|
7,500
|
3) 실물사진

4) 현장설치사진

5) 형상 및 치수

|
규격
(지름x길이) |
치수(mm)
|
||||
|
F
|
d
|
D
|
E
|
R
|
|
|
16x2,300
|
2,300
|
16
|
24
|
25
|
12
|
|
18x2.500
|
2,500
|
18
|
24
|
25
|
12
|

< Fig01. 지선롯드 시공방법 >
5. 지선커버
1) 용도
- 전주에 설치된 지선의 표시 및 방호용으로 사용
2) 종류 및 규격
|
종 류
|
전 장(mm)
|
단위 중량(kg)
|
적용 구분
|
|
지선커버1호
|
2,000
|
1.77
|
보통지선
|
3) 실물사진

4) 현장설치사진

5) 형상 및 치수

6) 참고자료
- 지선커버 상단의 지표상 높이 (수직거리 : 1.5m 내외)
| PLC(Programable Logic Controller)의 기본명령 / PC와 PLC간의 시리얼 통신 (0) | 2024.03.13 |
|---|---|
| PLC(Programable Logic Controller) 기초교육자료 (0) | 2024.03.12 |
| 멀티미터기(Multimeters)의 측정방법 (0) | 2024.03.07 |
| 계전기의 스위치의 종류 - 광전스위치, 리미트스위치, 푸쉬버튼스위치, 셀럭터 스위치 등 (2) | 2024.03.06 |
| 전기기초 교육자료 (0) | 2024.03.04 |