
1. 개요
최근에는 회전부가 있는 전동기-발전기 세트를 대신해서 에너지절감효과가 탁월한 반도체소자를 이용한 변환기를 사용해서 직류 전동기의 속도를 제어한다. 그림은 반도체 소자 변환방식의 블록선도이며 제어정류기(Controlled Rectifier) 또는 Chopper가 사용된다.

2. 제어정류기
전원이 교류이면 정류기를 이용해서 일정 교류전압을 가변 직류전압으로 바꾼다. 변환기에서 모든 스위칭 소자가 SCR 이면 전파변환기(Full Converter) 이며, 스위칭 소자의 일부가 SCR 이고 나머지 소자는 다이오드이면 반파 변환기(Half converter)이다. 그림2에서 SCR 점호각 α에 의해서 출력전압 vt의 평균값 Vt가 결정된다. 제어전압 Vc가 점호각 α를 바꾸면 Vt가 바뀐다. 평균 출력전압 Vt와 점호각 α와의 관계는 다음과 같다.

1) 단상입력
· 직류전류 ia가 일정하다고 가정할 때 전파변환기인 경우

· 반파변환기인 경우

2) 3상입력
· 전파변환기인 경우

· 반파변환기인 경우

Vp는 교류전압의 실효값이다. 반파 컨버터 및 전파컨버터에 대해서 점호각 α에 대한 단자전압 Vp의 변화를 그린 것이 그림 3 이다 IaRa 강하를 무시하면

Ea(또는 속도)와 점호각과의 관계도 그림3과 같다.




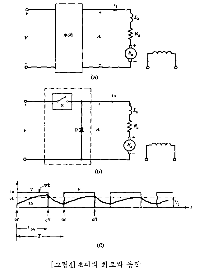
3. chopper제어
반도체소자 초퍼는 일정 직류전압원을 가진 갸변 직류전압원으로 변환한다. 초퍼의 결선은 그림4의 a와 같다. 초퍼는 그림 4의b 와 같이 속도가 빠른 온오프스위치이다. 스위치 S로는 일반적으로 SCR사이리스터, GTO사이리스터 또는 전력용 트랜지스터를 사용한다.
초퍼에서 스위칭소자가 동작하면(그림4의b) vt = V(공급전압)이 되고 전동기전류 ia는 증가한다. 스위칭 소자가 끊어지면 전기자전류 ia는 다이오드 D를 통해서 감소하며, Vt는 0 이 된다. Vt와 ia의 파형은 그림 4의c와 같이. 출력 전압 vt는 입력전압 V가 단속적으로 인가된 형태이다
전동기의 속도를 결정하는 평균출력전압 Vt는

· ton : 초퍼의 동작시간
· T : 초퍼의 주기
· α : 초퍼의 시비율

전동기 단자전압은 초퍼의 시비율에 따라 직선적으로 변하는 것을 알 수 있다.
4. 폐루프운전
속도를 일정하게 유지하여야 하는 경우 open loop operation은 부하토크가 변화하면 속도도 변하게 된다. 그러나 closed loop operation에서는 부하 토크가 변하면 전동기의 단자전압을 조절해서 속도를 일정하게 유지할 수 있다.
부하토크가 증가하면 전동기의 속도가 순간적으로 감소해서 속도오차가 증가하게 되고 제어신호Vc도 증가한다. 이 제어신호는 컨버터의 출력전압을 증가시킨다(점호각을 줄이거나 시비율을 증가시킨다)
폐루프 운전을 하면 정밀도가 높아지고 과도 응답특성이 좋아지고 안정도가 높아지는 등 장점이 있다.


폐루프 제어 순서
① 부하 토크 증가 ② 전동기 속도 순간적으로 감소 ③ 속도 오차 증가 εN ④ 제어 신호 Vc도 증가 ⑤ 변환기의 출력 전압도 증가 ⑥ 전동기의 전기자 전압이 증가 ⑦ 전동기는 본래의 속도를 회복
폐루프 시스템은 전동기가 발생하는 토크가 부하 토크와 같아질 때까지 과도상태를 거친다.
| 서지방호 디바이스(SPD) 종류와 특성 - 전압스위칭형 SPD (0) | 2023.06.07 |
|---|---|
| 전기의 어원(Elektron) / 정전기의 발생 (0) | 2023.06.05 |
| 전동기(Motor) 속도제어방식별 특징 비교 / 모터 속도제어 방식 (0) | 2023.05.31 |
| 전기에너지 절약방법(Electric Energy Saving) (0) | 2023.05.30 |
| 배전방식(Power distribution system)의 선정방법 (0) | 2023.05.29 |