
1. 영상전압검출의 목적
영상전압이란 3상 계통의 불평형사고(지락사고)에 발생하게 되며 이것을 검출하여 불평형사고를 보호할 수 있다. 영상전압을 얻기 위해서는 크게 나누어 두가지 방법이 있다. 즉 정상전압에서 개방 Δ결선을 이용하는 방법과 접지장치를 이용하는 방법이 있다.
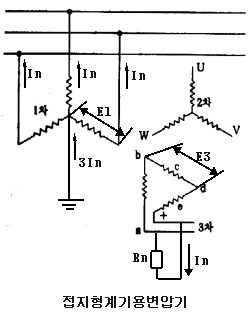
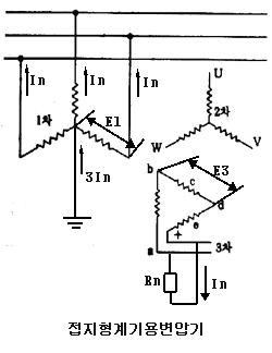
접지형 계기용변압기는 개방 Δ 결선을 이용한 방법으로 계통의 지락 사고시 영상전압(극성전압)을 검출하여 지락 계전기(OVGR)를 동작 시키기 위해 설치되고,
일반적으로 자가용 배전계통의 접지방식으로서 고압의 가공선 가공선계통 및 소규모의 케이블 계통에는 비접지 방식이 사용되며, 고압의 대규모 케이블 계통에는 고저항접지방식을, 특고계통에서는 저저항 접지방식이 많이 채용된다.
영상전압의 크기는 계통 중성점 접지방식에 따라 다르다. 1선 완전지락사고의 경우에 비접지 방식이면 계통중성점이 접지점으로 이동하여 건전 상전압은 √3배 증가하고 위상각도 120°에서 60°로 변하여 합성시 √3배가 증가하여 결국 한상전압의 3배에 해당하는 영상전압이 발생하게 된다. 그러나 직접접지 방식이면 중성점 이동은 없어 건전 상전압 및 위상각은 변하지 않으므로 한상전압 그대로가 된다.
2. 영상전압의 검출방법
비접지 계통의 영상전압 검출방법은 3상 접지형계기용변압기 또는 단상계기용변압기 3대를 사용하고, 중성점 접지계통의 영상전압 검출은 단상 PT 1대를 사용하여 영상전압을 얻는다.
1) 비접지계통
1-1) 3상 접지형 계기용 변압기의 이용

· 1차권선은 Y로 접속되고 그 중성점은 접지한다.
· 2차측은 Y접속되어 중성점을 접지한후 정상전압을 인출하고,
· 주PT에 3차권선을 갖고 있으면 3차권선을 오픈델타(브로우큰 델타)로 접속하여 영상전압을 얻는다. 단, open△ 할 경우 A상을 open 함을 원칙으로 한다.
· 주 PT에 3차 권선이 없을 때에는 주PT의 2차 권선에 보조PT를 접속하고 2차권선을 Y결선하고 중성점을 접지하며, 보조PT의 2차측은 open △ 결선한다.
· 정격 3차전압은 110/3 또는 190/3 이고 완전 1선지락시 오픈델타의 개방단자에 나타나는 정격 영상 3차 전압은 110V 또는 190V 이다.(GPT 3차측 1상의 전압은 110/√3 이지만 3차권선에 나타난 전압은 3배의 영상전압이 나타나므로 3*110/√3 = 190V 이다.)
· 영상전압의 크기는 계통의 중성점 접지방식, 고장점까지의 거리에 따라 달라지며, 최대치는 정격전압(상전압)의 1배(직접접지계)에서 3배(비접지계)가 된다.
· 3차측의 정격부담은 지락전류를 380mA로 제한할 경우 500VA 이상으로제작된다.
· 영상저압의 극성은 C상 -측이 영상전압 +측이 된다.
· 주 PT가 2차권선만 있을 때에는 보조 PT를 사용하여 보조 PT의 2차측을 개방 Δ결선하여 영상전압을 얻는다.
1-2) 단상의 계기용 변압기의 이용
· 단상 계기용 변압기 3대를,
· 1차측을 Y로 접속하여 그 중성점을 접지하고,
· 2차측은 오픈델타로 접속한다.
· 이때 완전지락시 얻어지는 영상전압은 190V(각 상이 63.5V) 이다.
2) 중성점 접지계통

· 접지용 변압기의 저압측 저항기의 값은 소호시 발생할 수 있는 이상과전압을 막기 위해 설치하며, 그 값은 아래 식에 의하는 경우 대지과도전압의 최고 순시치를 상전압의 2.6배 이하로 억제할 수 있고 또한 1선지락전류는 10A 정도로 제한된다

· Xc : 서지 업서버, 발전기 본체외 변압기의 발전기측 권선 및 접속도체 등의 1상당 대지용량리액턴스의 합
· N : 변압기 권수비

· 그림과 같은 발전회로에서 a상이 1선지락을 일으키는 경우 지락전류를 전 대지 충전전류와 같은 값으로 하기 위하여 중성선에 설치된 변압기의 2차저항의 값은 다음식의 값 이하로 한다.

· 접지용 변압기 고압측 정격전압은 발전기 정격 상전압의 1.5배 이상으로 하며 저압측의 정격전압은 일반적으로 220V 로 한다.
· 접지용 변압기와 저항기의 시간정격은 계전기 동작으로 경보만 발할 경우에는 연속정격으로 하는 것이 좋으나, 보통 경보시 발전기를 해열시키게 되므로 5분 정격으로 만족할 수 있다.


< 중성점 접지저항기 + PT 방식 >

< 결합콘덴서 + PT 방식 >

< 보조변압기 사용 >
3. 영상전압의 특성
1) 영상전압의 크기
· 직접접지계통에서 1선 완전지락시 open △ 전압의 크기는 P.T 1대의 상전압이 그대로 나온다.
· 비접지 계통에서 1선 완전지락시 open △ 전압의 크기는 P.T 1대 상전압의 √3 배에 달한다(P.T 1차전압, 즉 계통전압이 지락사고로 인하여 중성점이 지락점으로 이동하여 √3배로 증가하여, 위상각 역시 120°에서 60°로 변하기 때문에 또다시 √3배가 증가하여 전체 3배가 증가하게 된다. 그러므로 영상전압을 사용하는 계전기는 정격전압에 따라서 적당한 TAP의 상전압으로 맞추어 결선해야 한다.
2) 영상전압의 극성
· 설계기준대로 A상을 open하고 상수대로 정결선 되었다면 C상 PT의 (-)측이 영상전압의 (+)측이 된다. 그 이유는 A상이 지락사고가 발생했다고 가정하면 A상 전압은 없어지고 B상과 C상의 합성전압이 영상전압이 되며, Vector로 분석하면 그 방향은 본래 A상 전압과 반대이며 이는 PT권선을 통하여 C상 즉(-)측으로 나온다.
3) 영상전압회로사용시 주의사항
· 모선 PT가 각 모선마다 설치되어 있고 모선 분리운전이 가능한 것은 영상전압도 분리운전하여야 한다.
· 영상전압회로에는 FUSE 사용을 금한다.
· 평상시에는 영상전압이 발생하지 않아 점검이 불가능하므로 케이블 색을 통일시켜서 정비,보수, 점검이 용이하도록 하여야 한다.
· 영상전압케이블을 2P에서 4P로 바꾸어 2P는 open △ 의 (+)(-) 각 극에 접속하고, 나머지 2P는 B상의 각 단자를 인출하므로써 점검시에 이용할 수 있도록 계획한다.
4. 중성점 접지변압기의 용량 산정
중성점 접지 변압기는 주로 발전기 중성점에서 중성점의 전압을 취할 때에 사용되며 2차전압은 보통 100V로 하고 있다.
접지변압기의 용량은 아래 식에 의해 산출하며, 최소 100KVA 이상으로 하는 것이 바람직하다.
접지변압기의 용량 = (3 × 상전압 × 제한전류치/3 ) · K = 상전압 × 제한전류치 × K
- K : factor로서 아래의 표와 같다.

· 중성점 연속전류는 접지변압기를 설치할 경우에는 10% 정도 고려하면 된다.
· 지그재그 변압기의 용량은 STAR-DELTA 변압기의 1/√3배로 한다.
5. 전류제한 저항기(CLR)
지락유효분 전류를 얻기 위해 오픈델타 회로에 접속하는 저항기로 중성점 이상진동 현상이 방지된다. 시한정격은 30초로하는 경우가 일반적이다. 또, 저항접지계에서 계기용변압기 자체의 철공진 같은 이상현상도 방지할 수 있다.
1. CLR의 값 다음식으로 구한다.

· W : 전류제한 저항기의 용량(W)
· I : 전류제한 저항기의 전류(A)
· Rn : 전류제한 저항기의 저항(Ω)
· In : 1차 영상 유효분 전류 1상분(A)
지락전류(보통 1차 영상 유효분 전류)는 전류 제한기를 설치하여 3In = 0.38A이하로 선정한다.
· E1 : 1차 상 전압(V)
· E3 : 3차 상 전압(V)


· n = E1/E3 : GPT의 턴 비율 1차상전압 / 3차상전압
· Rn : CLR의 저항치
2) CLR의 저항 값 Rn
2-1) 3차전압이 190V 인 경우 (전류 380㎃ 이하로 제한)
- 440V 계통

- 3.3㎸ 계통

- 6.6㎸ 계통

- 22KV 계통

2-2) 3차 전압이 110V 인 경우
- 190V 일 때의 저항치의 1/3로 한다.
| 거리계전기의 선정방법 (0) | 2022.06.17 |
|---|---|
| 열동계전기(Thermal Relay)의 구조 및 기능 (0) | 2022.06.16 |
| 영상전류 의 개요 및 검출 방법의 종류 (0) | 2022.06.14 |
| 송전선계통 보호방식(345kV 보호방식)의 특징 (0) | 2022.06.10 |
| 송전선 보호계전방식의 종류 및 특징 (0) | 2022.06.09 |